Inventor: Luis Miguel Ramírez Hernández
Invento:
De forma más concreta, el objeto de la invención consiste en un dispositivo especialmente destinado para su aplicación en persianas de lamas, cuya incorporación a la misma permite la división o separación transversal de la misma a voluntad y a la altura deseada, en dos o más partes, ya que en una misma persiana se puede incorporar más de un dispositivo de forma simultánea.
En la actualidad, y como referencia al estado de la técnica, debe mencionarse que por parte del peticionario se desconoce la existencia de ningún dispositivo que presente unas características técnicas, estructurales y de configuración semejantes.
Se puede afirmar, por tanto, que el dispositivo divisible aplicable a persianas de lamas que la invención propone, constituye por sí solo una evidente novedad dentro de su campo de aplicación, ya que a tenor de su instalación de una persiana de tipo convencional, se dota a la misma de la capacidad de ser separada en diferentes sectores, es decir, se puede dejar una, o varias, partes de la persiana bajadas, mientras la parte superior de la misma sigue siendo susceptible de bajar y subir de forma independiente, creando por ejemplo, zonas de sombra en la parte inferior del cerramiento y dejando pasar la luz en las zona superior.
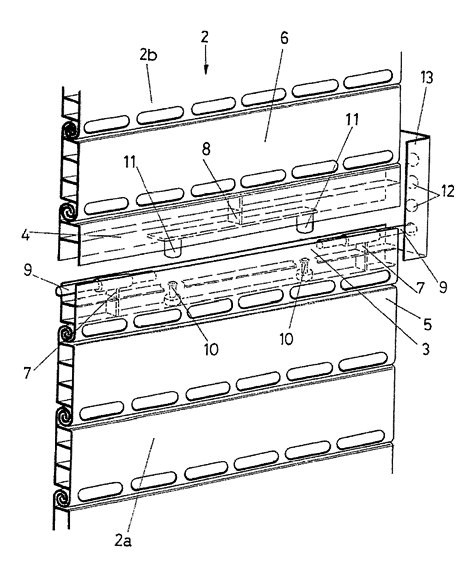
Para ello, y de forma concreta, el nuevo dispositivo divisor aplicable a persianas de lamas que propugna la presente invención consiste en una lámina o lama, perteneciente a la persiana de lamas que incorpora el dispositivo, que está constituida por dos piezas independientes, una inferior y otra superior, unidas de forma convencional a las respectivas láminas adyacentes.
Dicha lama dispone interiormente y de forma caracterizadora de sendos cerrojillos laterales que mantienen unidas las mencionadas partes inferior y superior, que tal como se ha descrito comprende, permitiendo su accionamiento, la liberación mutua de las mismas así como la fijación de la parte superior de la zona inferior de la persiana, a la que la pieza inferior de la lama está unida, a la altura que se desee, permitiendo que la zona superior de la persiana se pueda seguir utilizando de forma independiente a partir de dicho punto hacia arriba, pudiendo ser subida o bajada a voluntad.
Cada persiana, lógicamente en función de las dimensiones que presente, puede incorporar más de un dispositivo de división, pudiendo separarse en consecuencia, la persiana en tantas partes como lamas con dicho dispositivo posea, situando cada una de ellas a una altura distinta.
De todo ello se desprende, que el dispositivo divisible aplicable a persianas de lamas que la invención preconiza presenta una serie de ventajas respecto a las persianas convencionales, siendo importante destacar, además de la ventaja de permitir la entrada de la luz a gusto del consumidor y de mejorar la visión al exterior, el incremento de la seguridad, ya que permite su fijación lateral en uno o varios puntos, impidiendo que pueda ser levantada desde el exterior.
El nuevo dispositivo divisible aplicable a persianas de lamas representa, por consiguiente, una estructura innovadora de características estructurales y constitutivas desconocidas hasta ahora para tal fin, razones que unidas a su utilidad práctica, la dotan de fundamento suficiente para obtener el privilegio de exclusividad que se solicita.









