Pin It
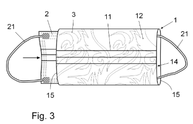
Descripción: La presente invención se refiere a una funda para mascarillas quirúrgicas, adecuada para cubrir la mascarilla durante su utilización, y que presenta unas características orientadas a mejorar el aspecto estético de la mascarilla y a proporcionar unas capas adicionales de protección Gráficos: Inventor: BARBARA ROSA AMAYA PIRIS / SONIA DÚNIA AMAYA PIRIS


Contacta con el Inventor 
Si estás interesado en esta patente, llena el formulario con tus datos de contacto.

Términos y condiciones: *
Este sitio está protegido por reCAPTCHA y se aplican la Política de privacidad y los Términos de servicio de Google.