Estados Unidos emite patentes por millones y el crecimiento es exponencial. Nuestro sistema de patentes fue creado para apoyar la propiedad intelectual, la cual está reconocida en nuestra Constitución: "Promover el Progreso de la Ciencia y las Artes útiles, asegurando por tiempo limitado a Autores e Inventores el Derecho exclusivo a sus respectivos Escritos y Descubrimientos".
Estados Unidos emite patentes por millones y el crecimiento es exponencial. Nuestro sistema de patentes fue creado para apoyar la propiedad intelectual, la cual está reconocida en nuestra Constitución: "Promover el Progreso de la Ciencia y las Artes útiles, asegurando por tiempo limitado a Autores e Inventores el Derecho exclusivo a sus respectivos Escritos y Descubrimientos".
MILLONES DE HITOS
La primera patente EE.UU.
31 de julio de 1790
Entregado a Samuel Hopkins para un proceso de elaboración de potasa, un ingrediente utilizado en fertilizantes. El presidente George Washington firmó la primera patente.
Patente nº. 1
13 de julio de 1836
El gobierno de los Estados Unidos había emitido 9,957 patentes antes de iniciar un sistema de numeración. En esa ocasión, la patente estadounidense no. 1 fue entregado a John Ruggles por una rueda de tracción para locomotoras de vapor.
Patente nº. 1 millón
8 de agosto de 1911
Emitido a Francis H. Holton, para un neumático de vehículo sin cámara.
Patente nº. 2 millones
30 de abril de 1935
Emitido a Joseph Ledwinka para una rueda de vehículo para aumentar la seguridad y longevidad de los neumáticos.
Patente nº. 3 millones
12 de septiembre de 1961
Emitido a Kenneth Eldredge para un sistema automatizado que traducía letras, números y símbolos a un código de procesamiento de datos.
Patente nº. 4 millones
28 de diciembre de 1976
Emitido a Robert Mendenhall para un proceso de reciclaje de composiciones de agregados de asfalto.
Patente nº. 5 millones
19 de marzo de 1991
Emitido a la Universidad de Florida. Lonnie O. Ingram y otros inventaron una forma innovadora de producir etanol combustible.
Patente nº. 6 millones
7 de diciembre de 1999
Emitido a Palm Computing de 3Com Corporation. Jeffery Hawkins y otros inventaron un método y un aparato ampliables para sincronizar varios archivos en dos sistemas informáticos diferentes.
Patente nº. 7 millones
14 de febrero de 2006
EI du Pont de Nemours and Company. John O'Brien inventó un proceso para producir fibras de polisacáridos.
Patente nº. 8 millones
16 de agosto de 2011
Emitido a Second Sight Medical Products, Inc. Robert Greenberg y otros inventaron un aparato de prótesis visual.
Patente nº. 9 millones
7 de abril de 2015
Emitido a WiperFill Holdings LLC. Matthew Carroll inventó un sistema de recolección de agua de lluvia para reponer un depósito de limpiaparabrisas y un acondicionador de limpiaparabrisas.
Patente nº. 10 millones
19 de junio de 2018
Emitido a Raytheon Company. Joseph Marron inventó un ladar coherente utilizando detección de cuadratura intrapíxel, con aplicaciones en campos tan variados como vehículos autónomos, dispositivos de imágenes médicas, sistemas de defensa militar y exploración espacial y submarina.
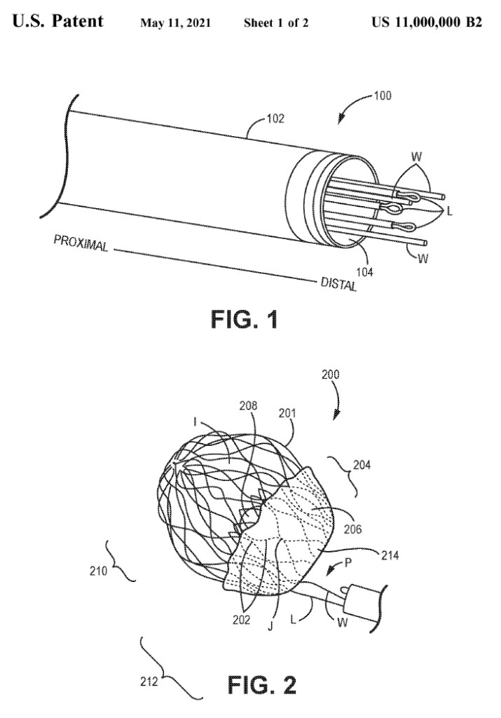
Patente nº. 11 millones
11 de mayo de 2021
Emitido a 4C Medical Technologies, Inc. Los co-inventores Saravana B. Kumar y Jason S. Diedering proporcionan un nuevo método para colocar, colocar y / o reposicionar un marco de stent plegable y expandible dentro de la cámara cardíaca de un paciente.
Así es la Patente 11 millones

La patente número 11 millones se ha otorgado a los co-inventores Jason Diedering y Saravana Kumar en 4C Medical Technologies en Maple Grove, Minnesota, para un dispositivo médico que coloca (o reposiciona) una válvula protésica expandible en el corazón de un paciente. Los stents coronarios se han implantado mediante cirugía mínimamente invasiva desde mediados de la década de 1980, y la cirugía de válvula cardíaca transcatéter (en la que se pasa un alambre o tubo delgado a través de una arteria hasta el corazón y se coloca una nueva válvula) ganó aceptación lentamente a principios de la década de 2000 . El nuevo dispositivo y enfoque está especialmente dirigido a situaciones en las que la sangre fluye hacia atrás a través de la válvula cardíaca mitral. Permite a los médicos implantar una válvula protésica expansible mientras utilizan múltiples alambres en bucle y extremos planos para colocar o reposicionar la válvula con mayor precisión de lo que era posible en el pasado. Fundada en 2015, 4C Medical Technologies se basa en un legado de nuevas tecnologías cardíacas y nuevas empresas de dispositivos médicos en el centro de Minnesota, comenzando con el marcapasos cardíaco que se inventó en Medtronic cuando era una pequeña empresa a mediados de la década de 1950.









